Как сделать карман с листочкой
При пошиве кармана с листочкой следует выполнить несколько этапов.
Изготовление листочки
Первым делом изготавливается сама деталь.
- Для этого из ткани вырезается прямоугольная заготовка. Обычно ее размеры равняются 20Х10 см.
- Перегибаем пополам деталь изнаночной стороной кверху.

Выворачиваем на лицо и хорошенько утюжим.
Внутренняя часть
Далее готовим внутреннюю часть кармана. Для этого из дополнительного материала выполняем две заготовки. Для выкройки прикладываем к листу бумаги руку и обводим границу ладони.

Разметка
Затем размечаем место расположения кармана.
- На лицевой стороне портняжным мелом отмечаем, где будет находиться данная деталь.
- Измеряем длину готовой планки.
- Чертим отрезок по размеру планки.
Затем приступам к процессу монтажа конструкции. Рассмотрим подробно, как это происходит.
Прорезной карман в листочку

Обработка прорезного кармана может выполнять и другим способом. Например, не проклеивается участок входа в карман, а вместо этого пристрачивается по периметру рамки мешковина кармана. Обтачки можно обработать оверлоком отдельно, а можно обметать вместе с подкладочной тканью мешковины и т.д.
Вместо двух узких обтачек можно использовать одну широкую, тогда она будет называться листочкой. Карман с листочкой намного легче обрабатывать чем с обтачками и если вы смогли аккуратно и красиво сделать карман в рамку, то карман в листочку сделаете уже самостоятельно, без подсказок.
Видео, как разметить и сделать накладной карман с клапаном.
Пошаговая технология обработки прорезного кармана с двумя обтачками и клапаном

Технология обработки прорезного кармана с двумя обтачками и клапаном
Из основной ткани выкроите детали клапанов и обтачек. Укрепите с изнаночной стороны клеевой прокладкой внешние детали клапанов карманов и все четыре детали косых обтачек (рис. 1).
ВАЖНО! На некоторых моделях пиджаков нижние детали клапанов кроят из подкладочной ткани. В данном примере все детали клапанов выкроены из основной ткани

Рис. 1. Детали клапана и обтачек
Сложите лицевыми сторонами укрепленные и неукрепленные детали клапана, сколите по нижнему и боковым сторонам и стачайте (рис. 2).

Рис. 2. Стачать детали клапана
Срежьте припуски близко к строчке, в местах скруглений высеките на уголок (рис. 3).

Рис. 3. Срезать припуски на клапане кармана
Выверните и чисто выметайте клапаны (рис. 4). В мастер-классе использованы красные нитки для наглядности, но лучше выметывать детали из светлых материалов белыми нитками (они не оставляют следов).

Рис. 4. Чисто выметать клапаны карманов
Наметочную нить на клапанах удалите. По контуру каждого клапана проложите отделочную бисерную строчку (по боковым и нижней сторонам) (рис. 5). Если вы не знакомы с таким видом ручного шва, посмотрите видео-мастер-класс, который размещен в конце этой статьи.

Рис. 5. Вспушная (бисерная) строчка на клапанах кармана
Детали обтачек перегните пополам, проутюжьте и слегка оттяните. Ширина обтачек в готовом виде равна 1,5 см (рис. 6).

Рис. 6. Детали обтачек
На полочке изделия разметьте вход в карман при помощи разметочных стеков или исчезающего маркера. Наложите обтачки на полочку срезами к линии разметки входа в карман и приколите или приметайте (рис. 7).

Рис. 7. Раскладка обтачек на полочке
Притачайте обтачки точно по центру, проложив строчки на ширину входа в карман (рис. 8). Ширина рамки кармана в готовом виде — около 1,5 см.

Рис. 8. Притачивание обтачек
С изнаночной стороны разрежьте вход в карман, не доходя 1 см до концов строчек — на уголок (рис. 9).

Рис. 9. Разрез по рамке
Отогните припуски обтачек на изнаночную сторону, сформируйте рамку и и проутюжьте (рис. 10).

Рис. 10. Проутюжить рамку
Чтобы стабилизировать и зафиксировать рамку, аккуратно отогните деталь полочки и по основаниям треугольников с обеих сторон рамки проложите фиксирующие строчки (рис. 11).

Рис. 11. Притачать основания уголков рамки
На клапане разметьте верхний припуск. Вложите клапан между обтачками, совместив по разметке, и зафиксируйте булавками (рис. 12).

Рис. 12. Вставить клапан в рамку кармана

Рис. 13. Мешковина из основной ткани
Отогните полочку вниз. Выкроите 4 мешковины кармана: 2 из основной ткани и 2 из подкладочной ткани. Ширина обеих мешковин должна быть равна ширине обтачек рамки, длина — 16-17 см. Совместите мешковину из основной ткани с верхним припуском клапана и обтачки и приметайте (рис. 13).
Переверните полочку на другую сторону, по верхнему припуску рамки приколите клапан булавками (к припуску верхней обтачки кармана) (рис. 14).

Рис. 14. Приколоть мешковину к верхней обтачке
Притачайте клапан и мешковину к припуску обтачки, строчку проложите точно в шов притачивания верхней обтачки (рис. 15).

Рис. 15. Притачать мешковину из основной ткани
Отогните притачанную мешковину из основной ткани вверх. Мешковину из подкладочной ткани совместите с нижним припуском обтачки. При этом обе мешковины должны быть направлены вверх от входа в карман (рис. 16).

Рис. 16. мешковина из подкладочной ткани
Приколите мешковину к припуску нижней обтачки (рис. 17) и притачайте мешковину. Строчку проложите точно в шов аналогично мешковине из основной ткани.

Рис. 17. Приколите мешковину к нижнему припуску рамки
Отогните обе мешковины вниз, совместите по припускам, подровняйте по всем сторонам (рис. 18).

Рис. 18. Подровнять припуски мешковин
Сметайте мешковины и стачайте по припускам боковых и нижней сторонам от основания треугольников (рис. 19).

Рис. 19. Стачать мешковины кармана
Обметывать мешковины не нужно, поскольку жакет полностью закрывается изнутри подкладкой. На рис. 20 показана мешковина кармана в готовом виде с изнаночной стороны изделия.

Рис. 20. Вид кармана с изнаночной стороны изделия
Клапан кармана в готовом виде показан в изделии на титульном фото и со стороны входа в карман — на рис. 21.

Рис. 21. Клапан кармана в готовом виде с нижней стороны
Еще больше профессиональных мастер-классов, выкроек и идей для творчества вы найдете на сайте Школы шитья Анастасии Корфиати
Чтобы не пропустить ничего важного и полезного, подписывайтесь на наши бесплатные уроки и шейте модную одежду вместе с нами!
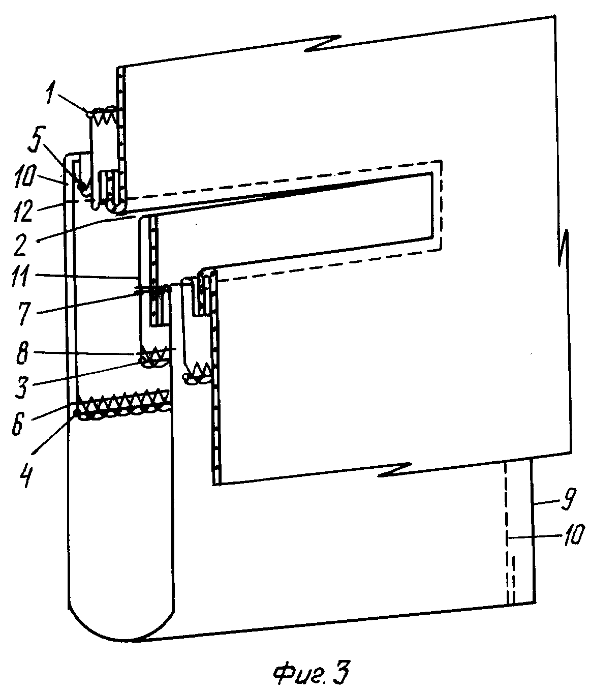
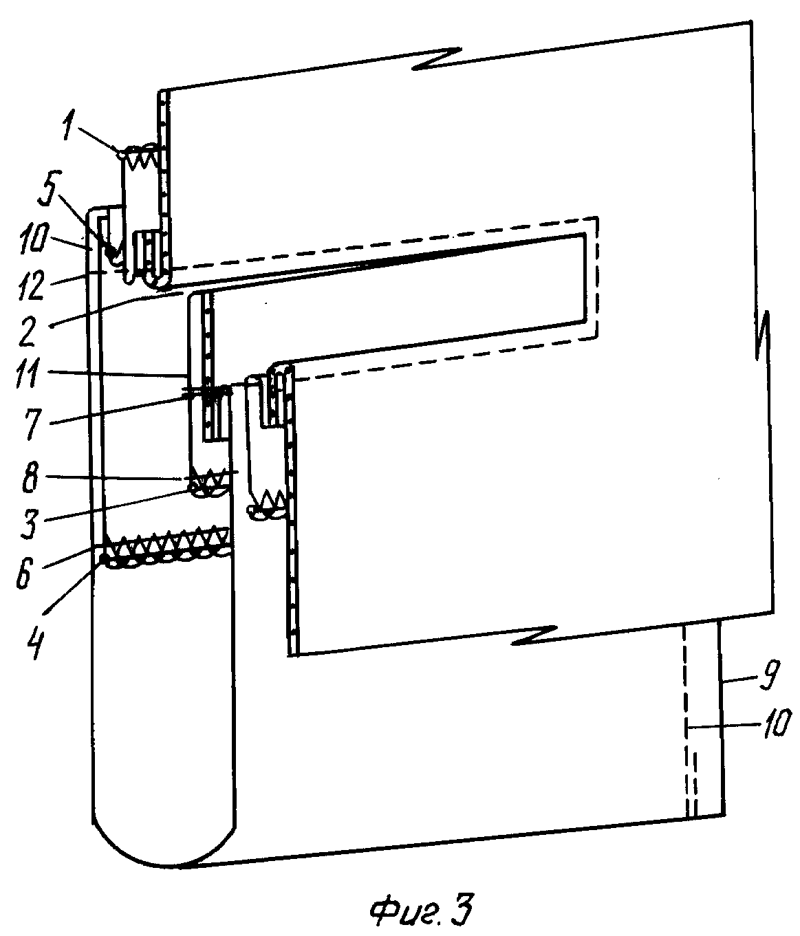
Классификация карманов
Карманы являются неотъемлемой частью любого пальто.
Расположение определяется как фасоном пальто, так и особенностями фигуры.

Можно выделить два типа карманов: внешние и внутренние. Разница в том, с какой стороны, лицевой или изнаночной, они расположены.

Оба этих типа представлены одинаковыми разновидностями:
- Втачные. Чаще присутствуют на моделях спортивного стиля. Отлично выглядят на ткани с рисунком.
- Накладные. Настрачиваются на ткань. Могут быть одинарными или двойными, зависимости от толщины материала. При необходимости укрепляются прокладкой.
- Прорезные. На внешней стороне виден лишь особым образом обработанный вход в карман (вырез).
- Не прорезные. Карманы внутри шва. Чаще всего используются у моделей с фасонными линиями и швами. Направление которых, кстати, не влияет на технологию изготовления.
Как сделать карман с листочкой на молнии
Во многих изделиях листочка соседствует с застежкой-молнией. Многие знают, как выполнить эти элементы по отдельности. Но их совмещение может завести их в тупик. Для того чтобы не возникло такой неприятности, предлагаем разобраться в этом методе подробно.

Для работы вам потребуется: листочка, дополнительная ткань для внутренней части и молния нужной длины.
Процесс выполнения
- Начертить на лицевой стороне изделия рамку для работы.
- Выполнить элемент планки так, как описано выше.
- Продублировать участок кармана дополнительным материалом.
- Разместить в нужном месте деталь планки.
- Аккуратно притачать планку к изделию.
- Ко второй стороне притачать соответствующий край молнии.
- Выполнить соединительный шов.
- Разрезать рамку.
- Вывернуть элементы наизнанку и зафиксировать в нужном положении при помощи английских булавок.
- Стачать молнию и листочку.
- Выполнить декоративную отстрочку кармана.
- Притачать к оставленным припускам внутренние детали кармана.
- Конструкция готова к использованию.
Для неопытных рукодельниц, зачастую столкновение с такими мелочами может стать роковым. После испытанной неудачи немногие решатся повторить попытку. Но используя чужой опыт, можно избежать таких неприятностей. А повторяя одну и ту же операцию несколько раз, вы оттачиваете свое мастерство, с каждым разом становясь все ближе к совершенству. Поэтому при неудачах не стоит опускать руки. Даже маститые профессионалы иногда ошибаются. Просто воспринимайте это как данность, и удача улыбнется вам. Приятной творческой работы!
Как связать карман на кардигане, кофте спицами?
Женские солнечные очки лисички
Как сделать карман с листочкой
При пошиве кармана с листочкой следует выполнить несколько этапов.
Изготовление листочки
Первым делом изготавливается сама деталь.
- Для этого из ткани вырезается прямоугольная заготовка. Обычно ее размеры равняются 20Х10 см.
- Перегибаем пополам деталь изнаночной стороной кверху.

Выворачиваем на лицо и хорошенько утюжим.
Внутренняя часть
Далее готовим внутреннюю часть кармана. Для этого из дополнительного материала выполняем две заготовки. Для выкройки прикладываем к листу бумаги руку и обводим границу ладони.

Разметка
Затем размечаем место расположения кармана.
- На лицевой стороне портняжным мелом отмечаем, где будет находиться данная деталь.
- Измеряем длину готовой планки.
- Чертим отрезок по размеру планки.
Затем приступам к процессу монтажа конструкции. Рассмотрим подробно, как это происходит.
Обработка кармана с листочкой
Для каждого вида обработка будет немного отличаться друг от друга, поэтому рассмотрим их по отдельности пошагово.
Вариация с настрочными краями
Для ее установки проводим подготовительные работы, как написано выше. Далее следуем изложенному ниже порядку действий.
- Заготовку планки укладывают открытым краем к линии прорезания кармана.
- Сверху помещают одну деталь внутренней части кармана.
- Прострачивают конструкцию, при этом начинают и заканчивают шов на уровне узких сторон листочки.
- Чуть выше линии разреза пристрачивают вторую внутреннюю часть.
- Разрезать карман.
- Внутреннюю часть заправить наизнанку.
- Соединить внутренние детали кармана.
- Выполнить отстрочку планки и кармана.

Вариация с втачными краями
Предварительный этап проводится тем же способом. Затем выполнить следующие действия.
- Листочку притачать к внутренней части кармана.
- Шов расправить и заутюжить.
- Пришить часть с листочкой и вторую внутреннюю часть по обеим сторонам разметки разреза.
- Выполнить разрезание ткани.
- Вывернуть детали кармана на изнаночную сторону.
- Расправить все элементы и сшить обе части, при этом закрепив концы листочки двойной строчкой.
- Отутюжить конструкцию.

Прорезной карман с листочкой. Обработка
Продолжаем разговор по обработке прорезных карманов с листочкой.
Из предыдущей статьи вы узнали особенности построения деталей для выполнения прорезного кармана с втачной листочкой. Далее обработка кармана.
Последовательность обработки кармана с листочкой.
Разметка кармана на детали изделия.
На лицевой стороне основной детали изделия сначала мелом, а затем наметочными стежками нанести три прямые линии: линию входа в карман (по разметке), линию ширины листочки и на расстоянии 1,5 см. от нее – линию прикладывания обрезного края верхней мешковины.
- Перпендикулярно к этим прямым наметить линии дд, ограничивающие длину входа в карман.
- Приметывание верхней мешковины.
Верхнюю мешковину изнаночной стороной наложить на изнаночную сторону детали изделия так, чтобы ее край совпадал с линией разметки, а контрольные надсечки – с линиями, ограничивающими вход в карман. Приметать мешковину по всему контуру.
Заготовка листочки.
Листочку продублировать и сложив по линии сгиба изнаночной стороной вниз приутюжить.
Отметить по нижней части листочки ее ширину и сметать по намеченной линии.
Приметывание и притачивание листочки и нижней мешковины.
Заготовленную листочку наложить верхней стороной на лицевую сторону основной детали так, чтобы вся листочка расположилась вне рамки кармана.
При этом сметочный шов листочки нужно совместить с намеченной на основной детали линией входа в карман, а припуски на ширину шва по поперечным краям листочки расположить симметрично по отношению к рамке кармана.
Приметать и притачать листочку по линии входа в карман, таким образом, чтобы строчка не выходила за линии, ограничивающие длину входа.
Нижнюю мешковину лицевой стороной наложить на лицевую сторону основной детали, так чтобы контрольные надсечки совместились с линиями дд, ограничивающими вход в карман, а обрезной край мешковины был направлен в сторону листочки и заходил за линию разметки (ширины листочки) на 1,5 см.
Мешковину приметать и притачать к основной детали по линии разметки и строго по длине входа в карман.
ВАЖНО: нужно обязательно проверить (с изнанки) не смещены ли строчки относительно друг друга по длине.
Для образования входа в карман основную деталь и верхнюю мешковину разрезать с изнанки посередине между строчками, не доводя разрез до концов строчек на 1 – 1,5 см. и закончить по наклонным рассечкам по направлению к ним.
Затем запас листочки и нижнюю мешковину перегнуть на изнаночную сторону основной детали через разрез кармана и направить в разные стороны.
Уголки, образованные наклонными рассечками, отогнуть наизнанку, выправить и закрепить двойной машинной строчкой на листочке.
ВАЖНО: чтобы выполнить эту операцию, основную деталь и верхнюю мешковину нужно отогнуть и нитки приметывания мешковины удалить.
При утюжке швов под мешковины в упор к швам подложить плотную бумагу сначала с изнаночной стороны приутюжить листочку, затем верхнюю и нижнюю мешковины.
После утюжки основную деталь отогнуть в сторону нижней мешковины, продольный и нижний поперечные края припуска на обработку листочки подогнуть на изнанку, наметать и настрочить у самого края на верхнюю мешковину.
В изделиях из плотной ткани края припуска листочки можно настрочить зигзагообразной строчкой без предварительного подгиба.
После нижнюю мешковину отогнуть на верхнюю, совместить их по краям, сметать и стачать по контуру. Срезы мешковины обметать.
- Карман с втачной листочкой и наклонной линией входа обрабатывается так же, как и карман с вертикальной линией входа.
После предыдущей публикации мне посоветовали страничку с видео по обработке прорезного кармана в листочку. Не могу с вами не поделиться, тем более, что автор все очень понятно показывает и рассказывает.
Если видео не отображается, обновите страницу (F5), нажмите на треугольник в центре дважды и дождитесь загрузки файла.
Горизонтальное расположение входа в карман не рекомендуется выполнять рассмотренным способом. При таком способе обработки будет виден шов притачивания мешковины из-за неизбежного провисания листочки.
Для горизонтального расположения линии входа больше подходит способ обработки кармана с настрочной листочкой, который обязательно будет рассмотрен немного позже.
Советую подписаться на обновления блога, для того, чтобы быть в курсе событий.
С пожеланиями удачи, Елена Красовская! https://shjem-krasivo.ru/
Второй вариант
Второй вид кармана с листочкой — это карман с настрочными концами. Процесс его изготовления похож на изготовление первого кармана, но имеет некоторые особенности.
В первую очередь, нужно заготовить листочку и уже по ее точным размерам намечать место кармана.
Место будущего кармана в данном случае намечается тремя линиями:
Аналогично с первым карманом изготавливаем долевик:
Далее совместим листочку с намеченными линиями и сметаем:
Далее сделаем машинную строчку, закрепки лучше в данном случае не выполнять, а проложить строчку по краям еще раз немного назад.
Прикладываем кусок мешковины к линии строчки листочки, далее нужно перегнуть и отвернуть основное изделие (куда мы вшиваем карман) на изнаночную сторону, приметать и пристрочить на расстоянии 1-2 мм от строчки притачивания листочки. На концах этой строчки лучше сделать закрепки. Заутюживаем полученную деталь.
Мешковина данного кармана будет выполнена из двух деталей: подзора и подкладки. Теперь аккуратно укладываем деталь подзора лицевой стороной вниз и проделываем стачную строчку, не доходя 0,5-1 см до перпендикулярных линий, проходящих через крайние точки строчки, которой была притачана листочка.
Прочтите это: Юбка из фатина для девочки своими руками: модный вариант на каждый день
Переходим на изнанку, к долевику. Намечаем линии будущего разреза, выполняем разрезание, выворачиваем подкладку и подзор с лицевой стороны на изнанку:
Теперь нужно укрепить концы входа в карман. Для этого листочку с притачанной к ней деталью подкладки отвернуть опять на лицевую сторону изделия, загнуть уголок припуска шва притачивания листочки и подкладки (с каждой стороны).
Основное изделие нужно перегнуть по линиям, проходящим через короткие стороны начерченного на изнанке четырехугольника и закрепить отогнутые уголки.
Выворачиваем обратно детали на изнанку, соединяем подзор и подкладку, сшиваем их, накладывая шов со стороны подкладки:
На последнем этапе нужно приметать с лицевой стороны листочку потайными швами:
Вот, что у нас получилось:
Еще одна разновидность карманов — это карман с листочкой на молнии. По названию можно заключить, что данный карман отличается от предыдущих наличием молнии. Такие карманы обычно бывают на верхней одежде — плащах, ветровках и т. п. Листочка здесь нужна для того, чтобы прикрыть молнию и вход в карман.
Для изготовления такого кармана нужно выполнить обычный карман с молнией, затем изготовить саму листочку, как описано выше:
И наложить листочку-обманку на наш карман, пристрочить:
Готовый карман:
Накладные карманы

Мы покажем, как правильно обработать карманы прямоугольной, округлой и заостренной формы. Для получения идеальной формы по низу кармана мы рекомендуем изготовить шаблон из картона, и подворачивать край с его помощью. Подробное описание этого способа Вы найдете в нашем мастер-классе.
Еще один вариант накладного кармана – с косым (наклонным) входом. Его верхний край может быть выполнен с узкой подгибкой или с цельнокроеной обтачкой, и мы подробно расскажем как это сделать.
Уголки карманов могут со временем надрываться, поэтому мы рекомендуем дополнительно укрепить их декоративной строчкой. Чаще всего это делают маленькими треугольниками на конце основной строчки или плотной закрепкой-зигзагом.
Клуб любителей шитья Сезон — сайт, где Вы можете узнать все о шитье
| Карман на куртке без подкладки должен выглядеть красиво с обеих сторон, и двухслойная ткань позволяет выполнить его безупречно.В нашем примере ткань даже не двух, а трёхслойная. Она состоит из двух слоёв шерсти, скреплённых между собой нитями, разрезая которые можно отделить один слой от другого. |
| На лицевой стороне одного слоя нанесено напыление в виде тончайшей плёнки фиалкового цвета, которая защищает куртку от дождя.Как правило, такие ткани сложно поддаются ВТО (влажно тепловая обработка) — утюг может расплавить слой искусственного напыления, швы плохо разутюживаются, поэтому проверяем на ненужном лоскутке действие утюга на ткань. |
Кроим детали кармана. Листочка — одна деталь со сгибом по длинной стороне. Одна мешковина кармана из основной ткани и две из подкладочной.
Мешковину из основной ткани расслаиваем. Слой с напылением не понадобится, убираем его. Второй слой складываем с мешковиной из подкладочной ткани и скрепляем их, простёгивая квадратами. В результате для одного кармана получилось две мешковины. Первая из подкладочной ткани и вторая, продублированная шерстяным слоем.
Листочку укрепляем тканой клеевой, сгибаем пополам по длине, застрачиваем короткие срезы и выворачиваем её на лицевую сторону.
Отстрачиваем листочку по месту сгиба длинной стороны. На рельефе куртки намечаем вход в карман в соответствие с выкройкой.
Рельефный шов застрачиваем до меток входа в карман, делая закрепки на концах швов. Заутюживаем припуски шва рельефа в сторону расположения будущего кармана. Так как ткань сложно подаётся ВТО, сразу после заутюживания кладем на шов деревянный брусок и оставляем до полного высыхания.
На рельефном шве в том месте, где располагается вход в карман и с той стороны, к которой будет пришита листочка, расслаиваем ткань на припуске шва. Срезаем нижний слой и укрепляем вход в карман тканой клеевой. Намёточным швом обозначаем место входа в карман.
Второй припуск рельефного шва расслаиваем весь, отгибаем, вставляем листочку в незашитый участок (место входа в карман). Надсекаем припуск слоя с напылением точно у концов листочки.
Разутюживаем слои, как показано на фото ниже. Застаиваем припуски деревянным бруском и пристрачиваем листочку к припуску, укреплённому клеевой.
Обмётываем мешковины кармана, каждую по отдельности
Примётываем мешковины, подложив их под припуски входа в карман.Важно! Не перепутайте мешковины. Продублированная мешковина в готовом кармане должна быть обращена к зрителю шерстяной стороной
Пристрачиваем мешковины швом зигзаг к припускам входа в карман. Заутюживаем мешковины по направлению кармана. Припуск закроет все зигзагообразные строчки.
Выворачиваем мешковины кармана на лицевую сторону и стачиваем между собой. Шов начинаем и заканчиваем точно от закрепок на рельефном шве. В начале и в конце шва не забываем о закрепках.
Вывернув мешковины на изнаночную сторону, получаем «чистый» шов мешковины кармана
Это важно для куртки без подкладки, чтобы все швы внутри имели достойный вид. Осталось подогнуть, заметать расслоенную часть припуска рельефного шва и пришить его невидимыми стежками вручную
Пристрачиваем короткие концы листочки. Для того чтобы нивелировать перепад слоёв ткани, подкладываем под свободную сторону лапки кусочек ткани равный по толщине листочке. Концы ниток вытягиваем на изнаночную сторону, делаем ручную закрепку, завязываем узелок и прячем его между слоями ткани, вдёрнув нити в иглу.
Карман готов.
Статья подготовлена в рамках конкурса «Мой роман с Сезоном». Благодарим автора Jioti за МК и выбор ткани в нашем магазине.
www.season.ru
Обработка кармана с листочкой
Для каждого вида обработка будет немного отличаться друг от друга, поэтому рассмотрим их по отдельности пошагово.
Вариация с настрочными краями
Для ее установки проводим подготовительные работы, как написано выше. Далее следуем изложенному ниже порядку действий.
- Заготовку планки укладывают открытым краем к линии прорезания кармана.
- Сверху помещают одну деталь внутренней части кармана.
- Прострачивают конструкцию, при этом начинают и заканчивают шов на уровне узких сторон листочки.
- Чуть выше линии разреза пристрачивают вторую внутреннюю часть.
- Разрезать карман.
- Внутреннюю часть заправить наизнанку.
- Соединить внутренние детали кармана.
- Выполнить отстрочку планки и кармана.

Вариация с втачными краями
Предварительный этап проводится тем же способом. Затем выполнить следующие действия.
- Листочку притачать к внутренней части кармана.
- Шов расправить и заутюжить.
- Пришить часть с листочкой и вторую внутреннюю часть по обеим сторонам разметки разреза.
- Выполнить разрезание ткани.
- Вывернуть детали кармана на изнаночную сторону.
- Расправить все элементы и сшить обе части, при этом закрепив концы листочки двойной строчкой.
- Отутюжить конструкцию.

Мастер-класс по созданию кармана для женской юбки
На примере создания кармана для женской юбки рассмотрим, как сшить карман прорезной в рамку:
- В первую очередь копируется прямоугольник будущего размещения прорезного кармана на изнаночную сторону ткани. После этого рисуется горизонтальная линия в середине проема и добавляются линии клипов.
- Вырезается карман нужных размеров. Для женщин можно использовать следующие размеры: ширина – 11 см, высота – 18,5 см. Девочкам подойдут: ширина – 14 см, высота – 28,5.
- Копируется верхняя линия проема. Для этого продеваются две булавки в верхнюю линию прямоугольника, потом поворачивается ткань и соединяются обе стороны для того, чтобы скопировать эту линию. Рисуется параллельная линия на 3,5 см выше первой.
- Для определения середины прорезного кармана можно опять использовать тот же прием. Вставляется булавка в изнаночную сторону ткани. Разворачивается и копируется эта же линия на лицевую сторону ткани.
- К правой стороне ткани крепится карман.
- Пришиваются две горизонтальные линии к нарисованному прямоугольнику. Обе линии должны быть одинаковой длины. Начало и окончание шитья производится в одном и том же горизонтальном положении.
- С помощью этих линий делается прямоугольное отверстие. При выполнении этой операции нужно быть предельно точным, так как от этого зависит внешний вид будущего кармана.
- Вырезаются линии, нарисованные ранее, так, чтобы получился прямоугольный проем.
- Через отверстие вытягивается карман по направлению к спине.
- Необходимо нажать. В результате должен получиться прямоугольник правильной формы.
- Далее отрезается 2 мм верхнего и нижнего края новых краев, которые не были обработаны. Это позволит компенсировать толщину ткани при создании кармана.
- Верхняя часть скроенной ткани и карман складываются вниз. Потом снова загибается вверх. Край ткани должен располагаться посередине на расстоянии 7,5 мм от края.
- Необходимо повторить такой же порядок действий и для нижней части.
- Прострачивается вокруг кармана на расстоянии 2 мм от прямоугольного отверстия.
- Нужно перевернуть ткань и сложить клапан вдвое, чтоб получился карман. Боковые и верхние края закрываются при помощи прострочки на ширине прижимной лапки.
- Карман готов.



















![§ 8. обработка карманов [1973 антонов и.а., березина м.н. - технология изготовления мужских и детских пальто]](https://mr-krossovok.ru/wp-content/uploads/6/f/7/6f74cc55b351e3be96d9a7d05ba341e7.jpeg)

















